Recursos
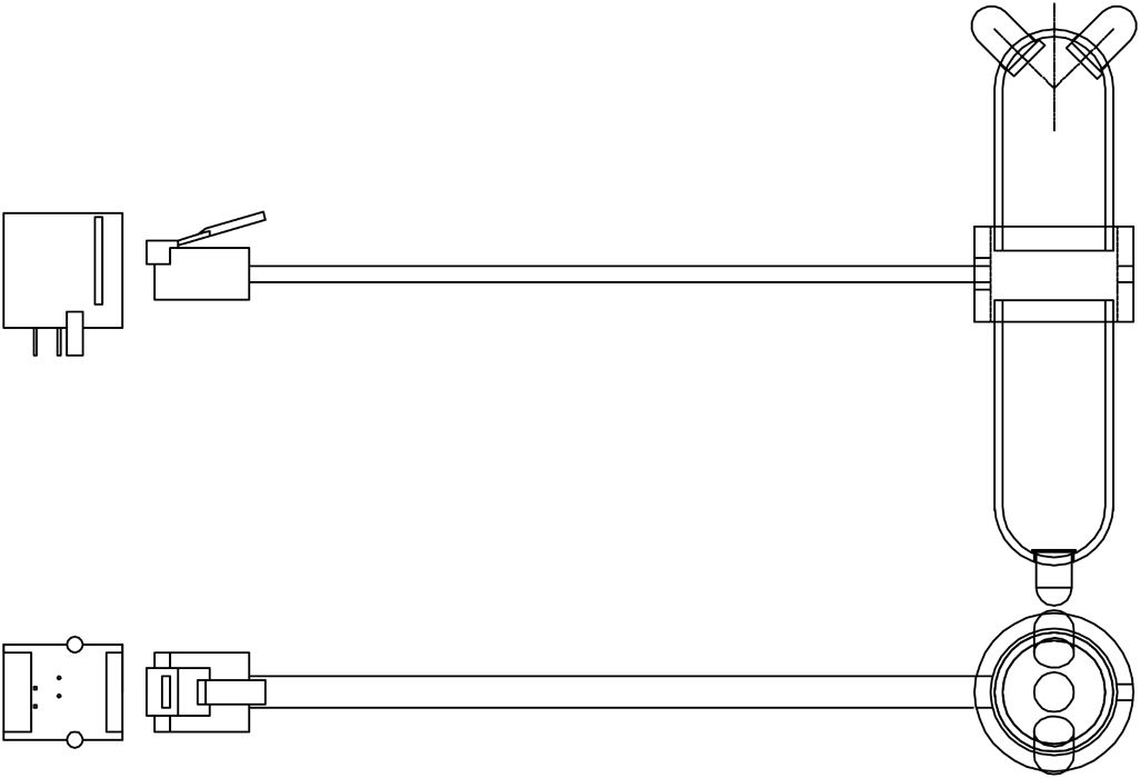
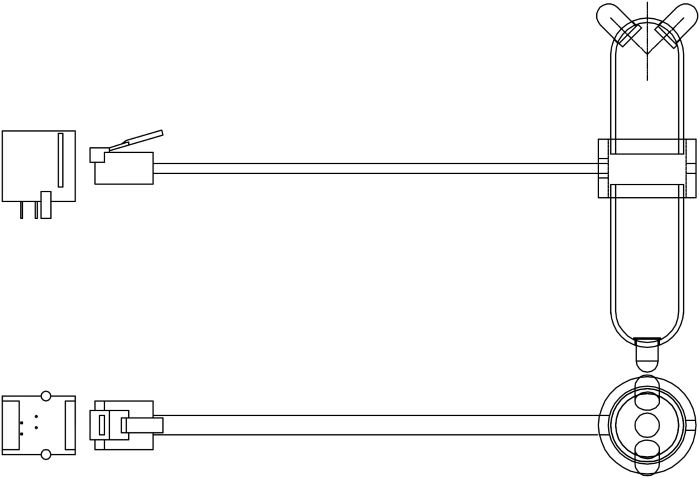
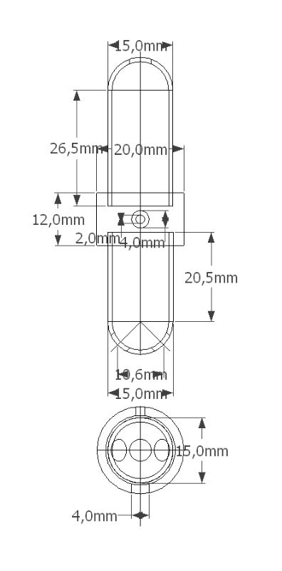
Sensor de sonido- arduino; Sensores piezoeléctricos. Circuitos; Arduino stepper; Sibrain
Simulador de redes neuronales
Pruebas de circuitos SMD; sonido-luz, Circuitos; Circuitos micrófonos; Driver hilo muscular; Zumbador fibra óptica: Amplificadores 386; Emisora FM
No se han encontrado
Alginato orejas; Estudio de sistemas nerviosos ópticos- biología y medicina; El cerebro; Hilo muscular
Proyectos
Intentos de contacto con medicina y electrónica, Elisa y Tarela; Simondon, hilemorfismo, individuación, Deleuze
Transferencia
Bide zabalak (Eibar, Gipuzkoa); Bide zabalak (Agoitz, Navarra)
Zubiaga, A. y Cilleruelo, L. (2013). Mehr Licht!: La gestión de lo inexplicable: luces y sombras de las prácticas transdisciplinares tecnoartísticas. Arte y Políticas de Identidad, Vol. 9. (Imagen multimedia, contextos expandidos y realidad virtual). pp. 37-48.
Zubiaga, A. (2013) Imagen de portada. Arte y Políticas de Identidad, Vol. 9. (Imagen multimedia, contextos expandidos y realidad virtual).
ZAINTZA BEREZIAK (Cuidados intensivos). Presentación prezi









































